美女免费高清在线观看电视剧_西西人体www大胆高清_8090新视觉理论电影电视剧免费观看_国产精品丝袜黑色高跟鞋

全國服務熱線021-64162222

止回閥知識閥門首頁 > 閥門知識 > 止回閥知識 >

什么是止回閥?止回閥的作用?

[ 2025-10-13 ]
什么是止回閥?止回閥的作用?止回閥是一種應用廣泛的單向流體控制裝置,其主要功能是防止管道系統中的介質發生逆流。它是一種自動閥門,無需人工操作,僅依靠管道內介質的流動和壓力變化來實現啟閉。止回閥通常用于工業、民用建筑供水、排水系統以及石油、化工、制藥等領域中,以保護設備及管道的正常運行。 

閥
 
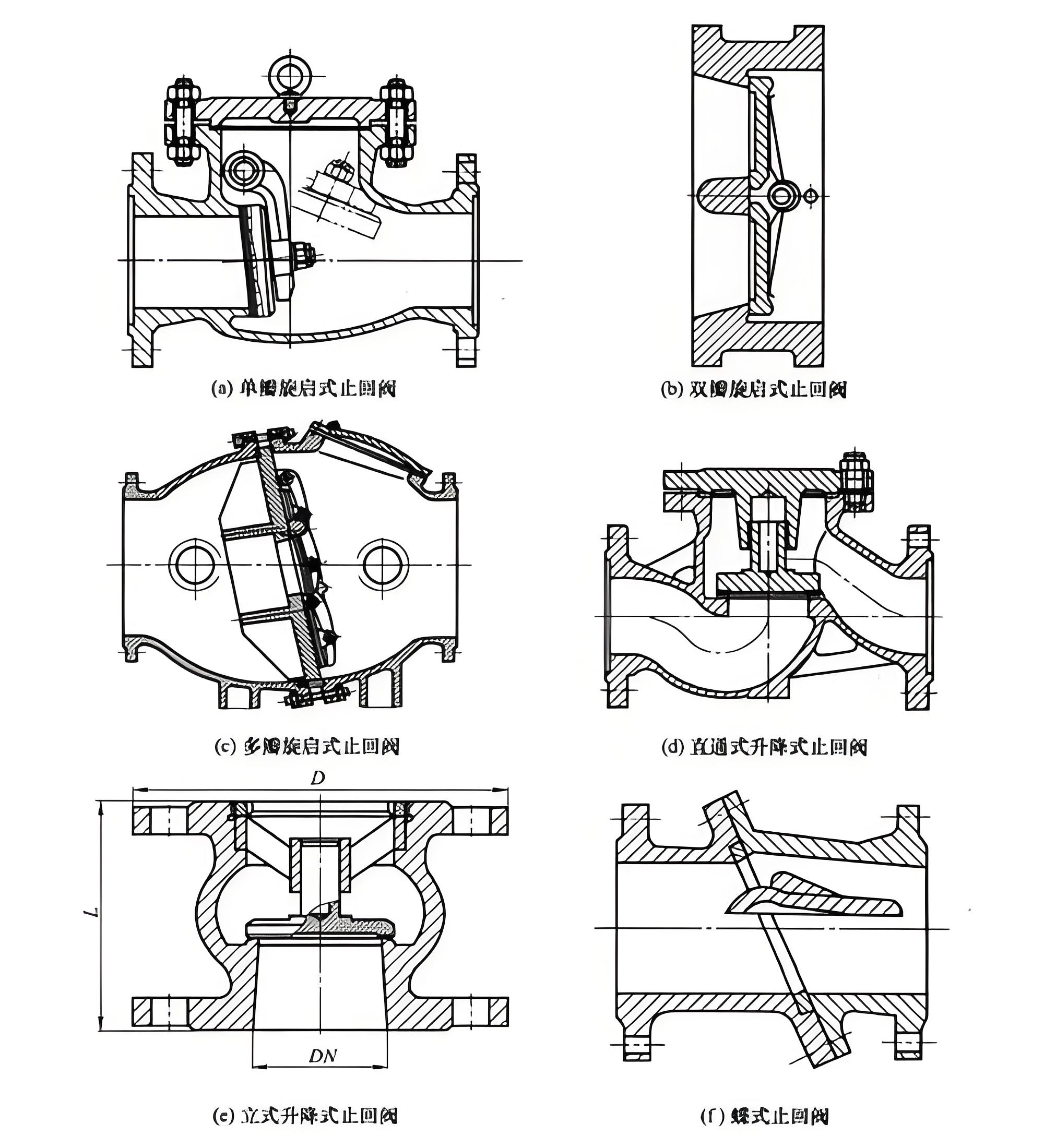
止回閥的結構和工作原理決定了其特殊作用。止回閥的關鍵部件包括閥體、閥瓣和閥座。正常情況下,當介質按設計方向流動時,閥瓣會被壓力推開,允許流體通過;當介質反向流動時,閥瓣會自動關閉,在逆向壓力作用下嚴密貼合于閥座上,從而有效地阻止回流。根據形式的不同,止回閥可以分為旋啟式止回閥、升降式止回閥、蝶形止回閥等多類,它們的具體選擇取決于應用場景。 

閥門
 
止回閥的作用具有多方面的意義。首先,它能夠防止設備因介質回流而受到損壞。例如,在水泵系統中,止回閥可避免水泵出現因突然斷電而導致的水流倒灌現象,從而保護泵體及其他部件。其次,止回閥可以減少能量損失,提高系統效率,通過避免回流所需的額外處理耗費。此外,止回閥還能防止危害性物質的擴散。在化工管道中,若發生意外泄漏,止回閥能夠起到隔離作用,減少事故影響。 

止回閥
 
綜上所述,止回閥在流體控制系統中扮演著至關重要的角色。合理選擇和維護止回閥不僅可以提高系統運行的可靠性,還能顯著延長設備的使用壽命。作為一種重要的管路配件,它為現代工業和生活提供了安全和高效的流體管理保障。

閥門廠家
本文標題:什么是止回閥?止回閥的作用? 本文地址:http://mini361.com/tech-zhf/7227.html

上一篇:止回閥H44H-16 DN40,H44H-16 DN50,H44H-16 DN80 / 下一篇:止回閥形式有哪幾種類型及結構形式