美女免费高清在线观看电视剧_西西人体www大胆高清_8090新视觉理论电影电视剧免费观看_国产精品丝袜黑色高跟鞋

全國服務熱線021-64162222

電動截止閥閥門首頁 > 產品展示 > 截止閥 > 電動截止閥 >

產品名稱:電動截止閥j941h-16c dn350(型號說明書)[ 2023-10-11 ]

訂購熱線:021-64162222
訂購傳真:021-62677999
質量穩定:實行全過程質量監控,細致入微全方位檢測!
價格合理:高效內部成本控制,減少了開支,讓利于客戶
交貨快捷:先進生產流水線,充足的備貨,縮短了交貨期!
  • 產品介紹
  • 規格尺寸
  • 結構圖片
  • 一、電動截止閥j941h-16c dn350(型號說明書)

    上海湖泉閥門集團有限公司電動截止閥 j941h-16c由截止閥與Z型多回轉電動執行器組成,有開關型、調節型兩種,采用電動執行器控制,不需人力操作,節省人力資源。同時,該產品的設計經過精心優化,具有優良的密封性能,有效防止介質泄漏,確保生產過程中的環境安全。該產品適用于公稱壓力PN1.6~16MPa,工作溫度-29~550℃的石油、化工、制藥、化肥、電力行業等各種工況的管路上,切斷或接通管路介質。

    電動截止閥

    二、電動截止閥j941h-16c dn350(型號說明書)執行標準

    公稱壓力PN(MPa) Noninal Pressure

    1.6

    2.5

    4.0

    6.4

    10.0

    16.0

    殼體強度試驗 Shell strength test

    2.4

    3.75

    6.0

    9.6

    15

    24

    上密封試驗 Back seal test

    1.76

    2.75

    4.4

    7.04

    11

    17.6

    密封試驗 Sealtest(Mpa)

    1.76

    2.75

    4.4

    7.04

    11

    17.6

    三、電動截止閥j941h-16c dn350適用范圍

    產品類型

    Product type

    使用介質

    Suitable medium

    適用溫度(℃)

    Working temperature

    J41H/Y -C型

    J941H/Y -C型

    水、蒸氣、油品

    Water,steam,

    Oil goods

    ≤425

     

    J41H/Y -P型

    J941H/Y -P型

    硝酸類

    Nitric acid

    ≤200

    J41H/Y -R型

    J941H/Y -R型

    醋酸類

    Acetic acid

    ≤200

     

    J41H/Y -I型

    J941H/Y -I型

    水、蒸氣、油品

    Water,steam,

    Oil goods

    ≤550

    四、 電動截止閥j941h-16c dn350主要零部件材料

    產品類型

    Product tupe

    classifcation

    零 件 名 稱Part name

    閥體、閥蓋

    Body,Bonnet

    閥桿

    Valve stem

    閥瓣

    Disc

    密封面

    Sealing face

    閥桿螺母

    Yoke nut

    填料

    Packing

    緊固件

    Fastener

    手輪

    Handwheel

         H

    J41  -C型

         Y

           H

    J941  -C型

           Y

    25.WCB

    鉻不銹鋼

    Cr.Stainles

    Steel

    2Cr13

    25

    H:不銹鋼

    Y:鉆基硬質合金鋼

    H:Stainless steel

    Y:Co-based carbide

    alloy steel

    ZQA19-4

    鋁青銅

    Albronze

    柔性石墨

    Flexible

    graphite

    優質碳鋼

    High-grade

    carbon steel

    可鍛鑄鋼

    Forgeable

    cast-ironl

         H

    J41  -P型

         Y

           H

    J941  -P型

           Y

    鉻鎳鈦鋼

    Cr.Ni.Ti.steel

    鉻鎳鈦鋼

    Cr.Ni.Ti.steel

    鉻鎳鈦鋼

    Cr.Ni.Ti.steel

    鉻鎳鈦鋼

    Cr.Ni.Ti.steel

    ZQA19-4

    鋁青銅

    Albronze

    柔性石墨

    Flexible

    graphite

    不銹鋼

    Stainess steel

    可鍛鑄鋼

    Forgeable

    cast-ironl

         H

    J41  -R型

         Y

           H

    J941  -R型

           Y

    鉻鎳鉬鈦鋼

    Cr.Ni.Mo.Ti

    steel

    鉻鎳鉬鈦鋼

    Cr.Ni.Mo.Ti

    steel

    鉻鎳鉬鈦鋼

    Cr.Ni.Mo.Ti

    steel

    鉻鎳鉬鈦鋼

    Cr.Ni.Mo.Ti

    steel

    ZQA19-4

    鋁青銅

    Albronze

    柔性石墨

    Flexible

    graphite

    不銹鋼

    Stainess steel

    可鍛鑄鋼

    Forgeable

    cast-ironl

         H

    J41  -I型

         Y

           H

    J941  -I型

           Y

    鉻鉬鋼

    Cr.Mo.steel

    鉻鉬鋼

    Cr.Mo.steel

    合金鋼

    Alloy steel

    鉆基硬質合金鋼

    Co-based carbide

    alloy steel

    ZQA19-4

    鋁青銅

    Albronze

    柔性石墨

    Flexible

    graphite

    合金鋼

    All steel

    可鍛鑄鋼

    Forgeable

    cast-ironl


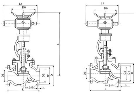
  • 公稱

    壓力

    通徑
    DN

    主要外形尺寸及連接尺寸(mm)

    重量
    kg

    L

    D

    D1

    D2

    b-f

    f2

    z-d

    H

    L1

    L2

    PN

    1.6

    MPa

    50

    230

    160

    125

    100

    18-3

    -

    4-18

    645

    590

    371

    48

    65

    290

    180

    145

    120

    18-3

    -

    4-18

    690

    590

    371

    90

    80

    310

    195

    160

    135

    20-3

    -

    8-18

    715

    590

    371

    65

    100

    350

    215

    180

    155

    22-3

    -

    8-18

    770

    590

    371

    71

    125

    400

    245

    210

    185

    24-3

    -

    8-18

    780

    590

    371

    119

    150

    480

    280

    240

    210

    24-3

    -

    8-23

    810

    590

    371

    210

    200

    600

    335

    295

    265

    26-3

    -

    12-23

    967

    810

    515

    320

    250

    650

    405

    355

    320

    30-3

    -

    12-23

    1143

    810

    515

    550

    300

    750

    460

    410

    375

    30-3

    -

    12-23

    1292

    830

    540

    785

    PN 2.5

    MPa

    50

    230

    160

    125

    100

    20-3

    -

    4-18

    645

    590

    370

    50

    65

    290

    180

    145

    125

    22-3

    -

    8-18

    690

    590

    371

    62

    80

    310

    195

    160

    145

    22-3

    -

    8-18

    715

    590

    371

    67

    100

    350

    230

    190

    160

    24-3

    -

    8-23

    770

    590

    371

    73

    125

    400

    270

    220

    188

    28-3

    -

    8-15

    780

    590

    371

    127

    150

    480

    300

    250

    218

    30-3

    -

    8-15

    875

    810

    515

    215

    200

    600

    360

    310

    278

    34-3

    -

    12-25

    967

    810

    515

    322

    250

    650

    425

    370

    332

    36-3

    -

    12-30

    1153

    830

    540

    585

    300

    750

    485

    430

    390

    40-4

    -

    12-30

    1292

    830

    540

    795

    PN 4.0

    MPa

    50

    230

    160

    125

    100

    20-3

    4

    4-18

    645

    590

    371

    61

    65

    290

    180

    145

    125

    22-3

    4

    8-18

    690

    590

    371

    75

    80

    310

    195

    160

    145

    22-3

    4

    8-18

    715

    590

    371

    84

    100

    350

    230

    190

    160

    24-3

    4.5

    8-23

    770

    590

    371

    101

    125

    400

    270

    220

    188

    28-3

    4.5

    8-25

    782

    810

    371

    207

    150

    480

    300

    250

    218

    30-3

    4.5

    8-25

    875

    810

    515

    226

    200

    600

    375

    320

    282

    38-3

    4.5

    12-30

    1160

    810

    540

    399


  • 電動截止閥j941h-16c dn350(型號說明書)

上一篇:走蒸汽的電動截止閥j941h-16c dn350生產廠家 / 下一篇:電動截止閥J941H-25 dn100(多少錢)